铁壳后倾式圆形管道草莓视频下载APP
1.产品简介
CDF系列铁壳后倾式圆形管道草莓视频下载APP是先进冷拉成型技术与空气动力学结合的新型直通离心式管道风机。进风口和出风口尺寸相同,可直接与圆形螺旋风管(或PVC管)连接,能够极大地节省管道安装费用。该系列产品的叶轮由多个后倾圆弧形铝合金叶片、前盘、后盘等部分组成,均用钢板制造,并经静、动平衡校正,空气运行良好,效率高,运转平稳可靠。该系列管道风机按照出风口直径共分为7个型号,依次排列为100mm,125mm,150mm,160mm,200mm,250mm,315mm。可以安装在管道的任意位置,也适合不同角度的安装,简单方便。草莓视频APP免费下载的产品设计工艺先进,结构紧凑,风道流畅,整机无需喷涂处理,使用更环保,可以用于输送空气或其他不自然、不自爆、无缠绕性、对人体无害、对钢铁材料无腐蚀的气体。是宾馆、饭店、礼堂、影剧院、地下室、厂矿企业等场所建筑楼宇和厨房卫生间的通风换气的理想产品,是高层建筑用消防排烟风机的更新换代产品,现已畅销全国各地,深受用户好评。
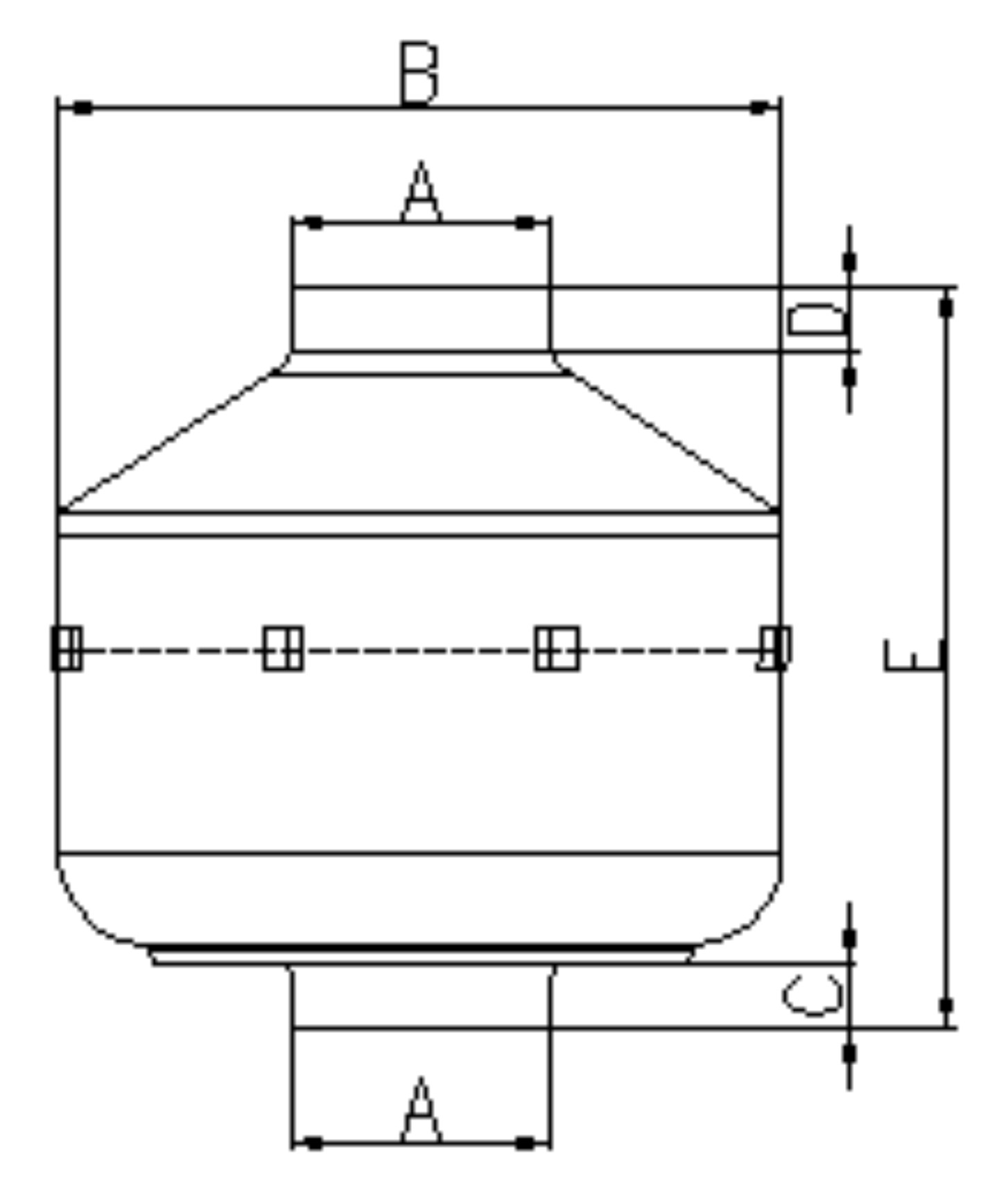
铁壳后倾式圆形管道草莓视频下载APP按出风口的直径共分为7种机号,依次排列为100mm、125mm、150mm、160mm、200mm、250mm、315mm。下文中是这些铁壳后倾式圆形管道草莓视频下载APP的尺寸(精确到毫米)、电压、频率、输入功率、电流、转速、电容等参数。
草莓视频APP免费下载圆形管道草莓视频下载APP的分类、结构特点、行业用途、工作条件、设计说明、型号说明、产品认证等信息详见:圆形管道草莓视频下载APPCDF系列产品概述。
2. 技术参数
| 型号 | A (mm) | B (mm) | C (mm) | D (mm) | E (mm) |
| CDF2E100 | 97 | 240 | 20 | 20 | 200 |
| CDF2E125 | 121 | 236 | 24 | 24 | 206 |
| CDF2E150 | 147 | 280 | 25 | 22 | 206 |
| CDF2E160 | 157 | 280 | 27 | 30 | 213 |
| CDF2E200 | 197 | 335 | 28 | 25 | 240 |
| CDF2E250 | 246 | 335 | 30 | 25 | 220 |
| CDF2E315 | 313 | 402 | 25 | 30 | 255 |
| 型号 | 额定电压 | 频率 | 输入功率 | 额定电流 | 转速 | 电容 |
| CDF2E100 | 230 | 50/60 | 73/80 | 0.33/0.35 | 2300/2500 | 2 |
| CDF2E125 | 230 | 50/60 | 70/85 | 0.29/0.32 | 2300/2500 | 2 |
| CDF2E150 | 230 | 50/60 | 100/125 | 0.41/0.52 | 2300/2500 | 3 |
| CDF2E160 | 230 | 50/60 | 110/130 | 0.41/0.54 | 2300/2500 | 3 |
| CDF2E200 | 230 | 50/60 | 150/200 | 0.5/0.68 | 2350/2600 | 5 |
| CDF2E250 | 230 | 50/60 | 165/215 | 0.65/0.73 | 2350/2600 | 5 |
| CDF2E315 | 230 | 50/60 | 200/250 | 0.88/1.1 | 2300/2400 | 6 |
| 型号 | 额定电压 | 频率 | 输入功率 | 额定电流 | 转速 | 电容 |
| CDF2E100 | 115 | 60 | 77 | 0.63 | 2550 | 8 |
| CDF2E125 | 115 | 60 | 85 | 0.7 | 2550 | 8 |
| CDF2E150 | 115 | 60 | 125 | 0.98 | 2550 | 12 |
| CDF2E160 | 115 | 60 | 130 | 1 | 2500 | 12 |
| CDF2E200 | 115 | 60 | 200 | 1.78 | 2400 | 16 |
| CDF2E250 | 115 | 60 | 215 | 1.8 | 2400 | 16 |
| CDF2E315 | 115 | 60 | 250 | 2 | 2450 | 20 |
3.外形尺寸图

4.风量曲线图
说明:(红线为60Hz曲线,黑线为50Hz曲线)

铁壳后倾式圆形管道草莓视频下载APP100mm风量风压曲线图

铁壳后倾式圆形管道草莓视频下载APP125mm风量风压曲线图

铁壳后倾式圆形管道草莓视频下载APP150mm风量风压曲线图

铁壳后倾式圆形管道草莓视频下载APP160mm风量风压曲线图

铁壳后倾式圆形管道草莓视频下载APP250mm风量风压曲线图

铁壳后倾式圆形管道草莓视频下载APP315mm风量风压曲线图

铁壳后倾式圆形管道草莓视频下载APP200mm风量风压曲线图
下一页:贯流风机LB30







