塑料后倾式圆形管道草莓视频下载APP
产品详情
1.产品简介
CDF系列塑料后倾式圆形管道草莓视频下载APP产品由鼓型高效节能塑料壳体、过载热保护外转子电机、高效离心叶轮构成的优质单相管道草莓视频下载APP。机壳为PP或PA材质,具有良好的表面光洁度、热稳定性、抗老化性和抗酸碱腐蚀性,能够有效保证管道草莓视频下载APP的使用寿命。外转子电机均获得了美国的UL安全标准和欧洲的CE认证标准,成为广大客户的选。该款产品有100mm和125mm两种型号,115V和230V的额定电压使该款电机适用于不同国家的电压要求,适用性强。由于其具有体积小、重量轻、噪音低、效率高和安装使用方便等优点,广泛用于宾馆、超市、学校、医院等公共场所的送风排风系统。如果你需要更多的产品信息,可以在线或电话联系草莓视频APP免费下载。
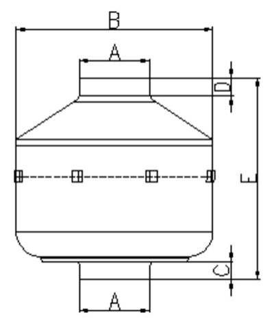
塑料后倾式圆形管道草莓视频下载APP按出风口的直径共分为2种机号:100mm、125mm。下文中为您介绍塑料后倾式圆形管道草莓视频下载APP的尺寸(精确到毫米)、电压、频率、输入功率、电流、转速、电容等参数。
草莓视频APP免费下载圆形管道草莓视频下载APP的分类、结构特点、行业用途、工作条件、设计说明、型号说明、产品认证等信息详见:圆形管道草莓视频下载APPCDF系列产品概述。
2. 技术参数
| 型号 MODEL | A (mm) | B (mm) | C (mm) | D (mm) | E (mm) |
| CDF2E100 | 97 | 240 | 20 | 20 | 200 |
| CDF2E125 | 121 | 236 | 24 | 24 | 206 |
| 型号 | 额定电压 | 频率 | 输入功率 | 额定电流 | 转速 | 电容 |
| CDF2E100 | 230 | 50/60 | 73/80 | 0.33/0.35 | 2300/2500 | 2 |
| CDF2E125 | 230 | 50/60 | 70/85 | 0.29/0.32 | 2300/2500 | 2 |
| 型号 | 额定电压 | 频率 | 输入功率 | 额定电流 | 转速 | 电容 |
| CDF2E100 | 115 | 60 | 77 | 0.63 | 2550 | 8 |
| CDF2E125 | 115 | 60 | 85 | 0.7 | 2550 | 8 |
3.外形尺寸图

4.风量风压曲线图
说明:红线为60Hz曲线,黑线为50Hz曲线

塑料后倾式圆形管道草莓视频下载APP100mm风量风压曲线图

塑料后倾式圆形管道草莓视频下载APP125mm风量风压曲线图







